mirror of
https://github.com/matrix-org/matrix-spec
synced 2026-04-04 10:14:09 +02:00
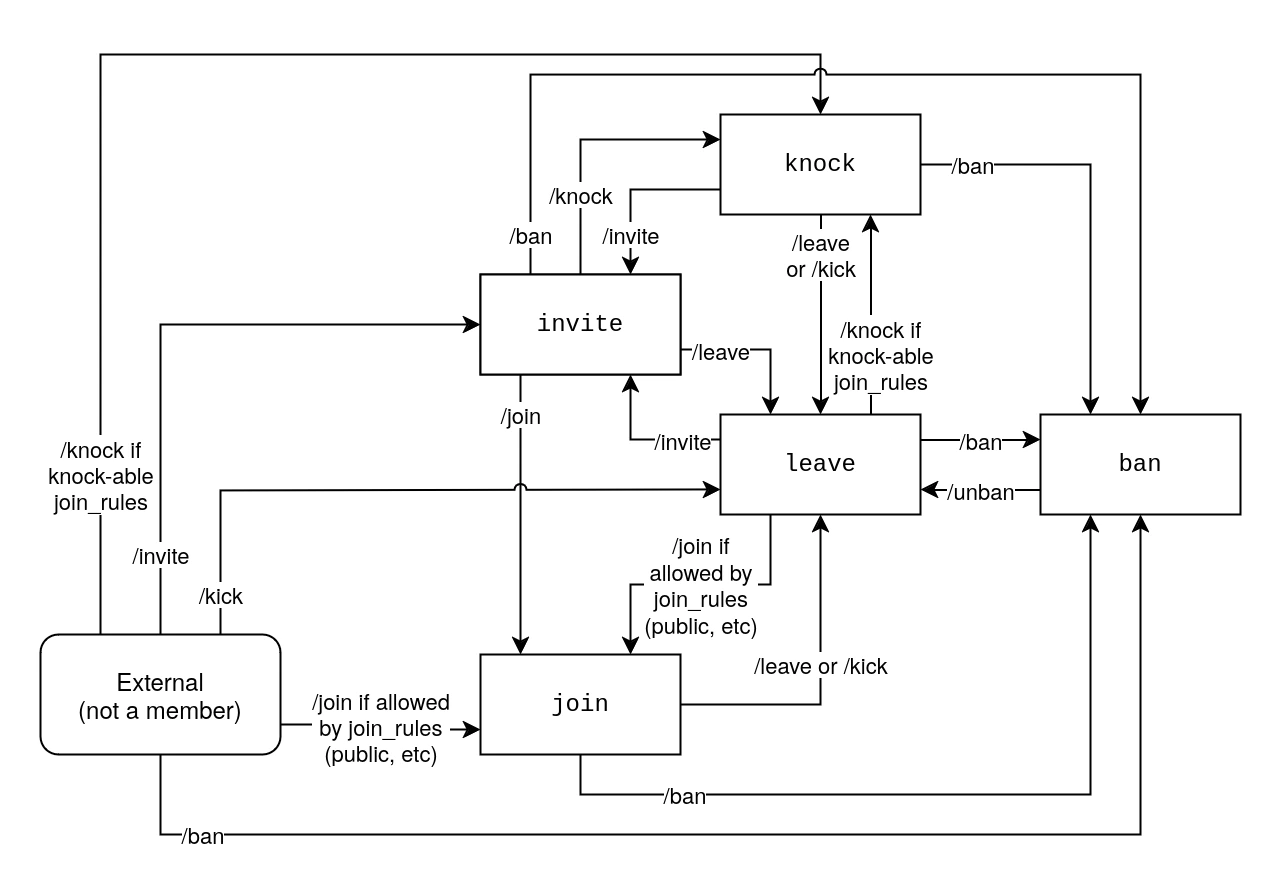
The first commit allows to lazy-load the diagrams, which should improve the loading time of the CS API on mobile. In the process it also improves the alt text of the images. The second commit serves the diagrams as high-resolution WebPs. Encoding a high resolution diagram as WebP gives a file of approximately the same size as the lower resolution PNG. For maximum compatibility we also serve them as a lower resolution WebP and a fallback PNG. WebP was chosen because it is one of the export formats of draw.io/diagrams.net, and it is widely available in modern browsers. Signed-off-by: Kévin Commaille <zecakeh@tedomum.fr>
34 KiB
1282x892px
34 KiB
1282x892px